Internet Auction NCS153557 1996 MTD Yard Machine View larger
  • 1996 mtd riding lawn mower cheap
  • My 1996 Ranch King Tractor Forum
  • 1996 mtd riding lawn mower cheap
  • MTD 136D686G190 Lawn Tractor LT 15 1996 42 Inch Mowing Deck
  • MTD Yard Machine Riding Lawn Tractor Lawn Mowers North Augusta South Carolina Facebook Marketplace

1996 mtd riding lawn mower cheap

1996 mtd riding lawn mower cheap, Internet Auction NCS153557 1996 MTD Yard Machine cheap

$100.00

SAVE 50% OFF

$50.00

- +

Add to wishlist


Frasers Plus

$0 today, followed by 3 monthly payments of $16.67, interest free. Read More


1996 mtd riding lawn mower cheap

Internet Auction NCS153557 1996 MTD Yard Machine

MTD MTD 96 self supporting side ejection MTD 96 Amazon Garden

My 1996 Ranch King Tractor Forum

Very COMMON MTD Riding Lawnmower PROBLEM WON T START Blade Engagement Safety Switch

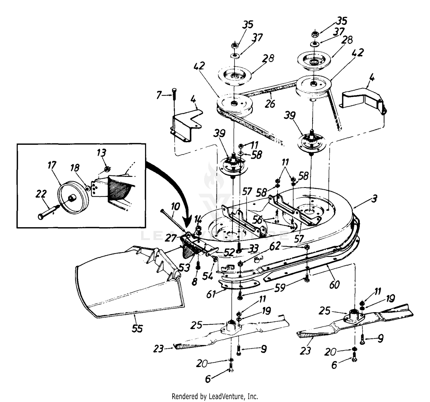
MTD 136D686G190 Lawn Tractor LT 15 1996 42 Inch Mowing Deck

MTD Yard Machine Riding Lawn Tractor Lawn Mowers North Augusta South Carolina Facebook Marketplace

Description

Product Name: 1996 mtd riding lawn mower cheap
1996 Yard Machines by MTD Lawn Tractor My Tractor Forum cheap, 1996 MTD Stock Muddin Mower cheap, Yard Man 1996 MTD Riding Lawn Mowers for Sale USFarmer cheap, RC Monster Truckin and the MTD 96 Lawn Mowing Tractor cheap, 1996 MTD Riding Lawn Mower 2E286H10194 Bid History BidCars cheap, 1996 MTD Riding Lawn Mower 2E286H10194 Bid History BidCars cheap, 1996 Lowe s MTD Riding Lawn Mower Ad Born to Ride eBay cheap, Internet Auction NCS153557 1996 MTD Yard Machine cheap, 1996 Yard Man project Tractor Forum cheap, 1996 MTD Riding Lawn Mower 2E286H10194 Bid History BidCars cheap, Internet Auction NCS153557 1996 MTD Yard Machine cheap, MTD MTD 96 self supporting side ejection MTD 96 Amazon Garden cheap, My 1996 Ranch King Tractor Forum cheap, Very COMMON MTD Riding Lawnmower PROBLEM WON T START Blade Engagement Safety Switch cheap, MTD 136D686G190 Lawn Tractor LT 15 1996 42 Inch Mowing Deck cheap, MTD Yard Machine Riding Lawn Tractor Lawn Mowers North Augusta South Carolina Facebook Marketplace cheap, Riding mower Mtd H 125 125 96 Onlineauctionmaster cheap, mower deck engages by itself Tractor Forum cheap, How to Operate an MTD Yard Machine Lawn Tractor Riding Mower Instructional Video Model 760 770 cheap, MTD Riding Lawn Mower 136M670G302 cheap, Images for 1788998. RIDING LAWN MOWER MTD RS 115 96. Auctionet cheap, MTD MTD 96 self supporting side ejection MTD 96 Amazon Garden cheap, Butt kicking 94 YARD MAN 18 HP 46 HYDRO mower My Tractor Forum cheap, MTD Replacement Lawn Tractor Transmission Drive Belt 1996 and Prior cheap, 1996 MTD Riding Lawn Mower 2E286H10194 Bid History BidCars cheap, MTD 136L691F190 Lawn Tractor LT 125 1996 Steering Assembly LT 125 cheap, Ride on Lawn Mower MTD RS 115 96 B with manual. Was running well but currently not starting Non Ru cheap, 1996 MTD Stock Muddin Mower cheap, MTD 136C471F190 Lawn Tractor L 12 1996 Parts Diagram for Switches And Lights Wiring Diagram cheap, MTD Parts Riding Mower Deck Belt cheap, Cold start my 1998 white MTD with a 13.5 ho briggs and stratton industrial motor. coldstart MTD ridingmower bluecollar cheap, Lawn Tractor Mower at best price in Pune by MTD Products India Pvt. Ltd. ID 17922917262 cheap, Locating Your Model Number cheap, Ride on Lawn Mower MTD RS 115 96 B with manual. Was running well but currently not starting Non Ru cheap, 1996 Yard Man project Tractor Forum cheap.

1996 mtd riding lawn mower cheap